Каталог

Ближний Восток

Модель

TOYOTA RUMION

VIN

Дата

2021/08

Двигатель

1500CC 16-VALVE DOHC

Фрейм

1500CC 16-VALVE DOHC

КПП

механика МКПП, 5 скоростей

Опции

левый руль S TYPE AFRICA COUNTRIES 924W

Коллекторы TOYOTA TOYOTA RUMION







Код

Описание

1703

переход к группе запчастей

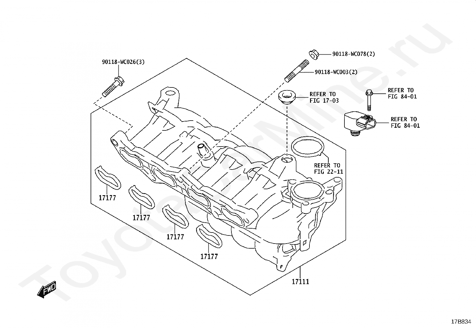
17111

MANIFOLD, INTAKE

17177

GASKET, INTAKE MANIFOLD TO HEAD, NO.1

17177

GASKET, INTAKE MANIFOLD TO HEAD, NO.1

17177

GASKET, INTAKE MANIFOLD TO HEAD, NO.1

17177

GASKET, INTAKE MANIFOLD TO HEAD, NO.1

2211

переход к группе запчастей

8401

переход к группе запчастей

8401

переход к группе запчастей

90118WC003

Крепеж

90118WC026

Крепеж

90118WC078

Крепеж

Код

Описание

17118

STAY, MANIFOLD

17139

STAY, MANIFOLD, NO.2

17141

MANIFOLD, EXHAUST

17159

BOLT, STUD(FOR MANIFOLD TO CYLINDER HEAD)

17167

INSULATOR, EXHAUST MANIFOLD HEAT, NO.1

17173

GASKET, EXHAUST MANIFOLD TO HEAD

8401

переход к группе запчастей

8401

переход к группе запчастей

8401

переход к группе запчастей

8401

переход к группе запчастей

8401

переход к группе запчастей

8401

переход к группе запчастей

90118WC010

Крепеж

90118WC032

Крепеж

90118WC032

Крепеж

90118WC078

Крепеж

90118WC078

Крепеж

90118WC079

Крепеж

90118WC843

Крепеж

> Запчасти TOYOTA RUMION > Поиск по каталогу

Купить

Ваше имя
Ваш телефон
Ваша электронная почта
Оставляя свои данные в форме, вы подтверждаете свое согласие с Политикой конфиденциальности