Каталог

Европа

Модель

MR2

VIN

Дата

1985/08

Двигатель

1,6 литра, DOHC, EFI

Кузов

купе

Класс

GT TYPE

Фрейм

AW11

КПП

автомат АКПП, 4 ступени

Опции

США

VALVE BODY & OIL STRAINER (ATM) TOYOTA MR2







Код

Описание

35330

STRAINER ASSY, VALVE BODY OIL

35339

GASKET, OIL STRAINER

35409

SPRING SUB-ASSY, MANUAL DETENT

35410

BODY ASSY, TRANSMISSION VALVE

35412A

BODY, MANUAL VALVE

35418

VALVE, MANUAL

35423

PISTON, B-2 ACCUMULATOR

35423A

SPRING, COMPRESSION (FOR B-2 ACCUMULATOR PISTON)

35423B

RING, O (FOR B-2 ACCUMULATOR PISTON)

35423B

RING, O (FOR B-2 ACCUMULATOR PISTON)

35424C

PISTON, C-1 ACCUMULATOR

35424D

SPRING, COMPRESSION (FOR C-1 ACCUMULATOR PISTON)

35424D

SPRING, COMPRESSION (FOR C-1 ACCUMULATOR PISTON)

35424E

RING, O (FOR C-1 ACCUMULATOR PISTON)

35425A

PISTON, C-2 ACCUMULATOR

35425B

SPRING, COMPRESSION (FOR C-2 ACCUMULATOR PISTON)

35425C

RING, O (FOR C-2 ACCUMULATOR PISTON)

35425C

RING, O (FOR C-2 ACCUMULATOR PISTON)

35426A

PISTON, C-0 ACCUMULATOR

35426B

RING, O (FOR C-0 ACCUMULATOR PISTON)

35426C

SPRING, COMPRESSION (FOR C-0 ACCUMULATOR PISTON)

35432

PLATE, VALVE BODY, NO.1

35433

GASKET, VALVE BODY, NO.1

35434

GASKET, VALVE BODY, NO.2

35469D

SPACER (FOR C-0 ACCUMULATOR PISTON)

35469E

RING, SNAP (FOR C-0 ACCUMULATOR PISTON SPACER)

35474A

COVER, ACCUMULATOR

35478

GASKET, ACCUMULATOR COVER

35599

COVER, MANUAL DETENT SPRING

35844A

TUBE, ACCUMULATOR BACK PRESSURE, NO.1

35845

TUBE, RR CLUTCH ACCUMULATOR

35846

TUBE, BRAKE ACCUMULATOR

35848

TUBE, FORWARD CLUTCH ACCUMULATOR

35862

BRACKET, ACCUMULATOR APPLY TUBE

Код

Описание

35212

VALVE, LOCK UP RELAY

35212B

SPRING, COMPRESSION (FOR LOCK UP RELAY VALVE)

35213

VALVE, LOCK UP RELAY CONTROL

35215

SLEEVE, LOCK UP RELAY VALVE

35216

STOPPER, VALVE SLEEVE

35218

PLUG, LOCK UP RELAY VALVE

35218A

KEY, STRAIGHT (FOR LOCK UP RELAY VALVE PLUG)

35422F

STOPPER, VALVE VIBRATING

35431A

GASKET, UPPER VALVE BODY COVER

35431A

GASKET, UPPER VALVE BODY COVER

35437A

PLATE, UPPER VALVE BODY COVER

35442

STRAINER, THROTTLE MODULATOR OIL

35445

VALVE, LOW MODULATOR

35445A

SPRING, COMPRESSION (FOR LOW MODULATOR VALVE)

35445B

VALVE, 2ND MODULATOR

35445C

PIN, STRAIGHT (FOR LOW MODULATOR VALVE)

35445D

KEY, STRAIGHT (FOR 2ND MODULATOR VALVE)

35445E

SPRING, COMPRESSION (FOR 2ND MODULATOR VALVE)

35450E

BALL (FOR UPPER VALVE BODY)

35450E

BALL (FOR UPPER VALVE BODY)

35451

SLEEVE, THROTTLE VALVE

35451A

PIN, STRAIGHT (FOR THROTTLE VALVE SLEEVE)

35457

VALVE, THROTTLE MODULATOR

35457D

KEY, STRAIGHT (FOR THROTTLE MODULATOR VALVE)

35457E

PLUG (FOR THROTTLE MODULATOR VALVE)

35457F

SPRING, COMPRESSION (FOR THROTTLE MODULATOR VALVE)

35458D

VALVE, CUT BACK

35458E

PLUG (FOR CUT BACK VALVE)

35458G

SPRING, COMPRESSION (FOR CUT BACK VALVE)

35458H

KEY, STRAIGHT (FOR CUT BACK VALVE)

35461

PLUG, DOWN SHIFT

35461A

SPRING, COMPRESSION (FOR DOWN SHIFT PLUG)

35462

VALVE, THROTTLE

35462A

SPRING, COMPRESSION (FOR THROTTLE VALVE)

35462D

RING, E (FOR THROTTLE VALVE)

35471A

COVER, UPPER VALVE BODY

35479A

SEAT, LOW MODULATOR VALVE SPRING

35491A

VALVE, ACCUMULATOR CONTROL, NO.1

35491B

SPRING, COMPRESSION (FOR ACCUMULATOR CONTROL VALVE NO.1)

35491C

KEY, STRAIGHT (FOR ACCUMULATOR CONTROL VALVE NO.1)

35491D

PLUG (FOR ACCUMULATOR CONTROL VALVE NO.1)

35521

CAM, THROTTLE VALVE

35521A

SPRING (FOR THROTTLE VALVE CAM RETURN)

35521B

WASHER (FOR THROTTLE VALVE CAM SET)

35521C

BOLT (FOR THROTTLE VALVE CAM SET)

35522

PIN, THROTTLE VALVE CAM

9454200600

Крепеж

Код

Описание

35211

VALVE, LOCK UP SIGNAL

35211B

SPRING, COMPRESSION (FOR LOCK UP SIGNAL VALVE)

35211C

KEY, STRAIGHT (FOR LOCK UP SIGNAL VALVE)

35415F

VALVE, PRIMARY REGULATOR

35415G

KEY, STRAIGHT (FOR PRIMARY REGULATOR VALVE)

35415H

SPRING, COMPRESSION (FOR PRIMARY REGULATOR VALVE)

35415J

WASHER (FOR PRIMARY REGULATOR VALVE)

35415P

RING, E (FOR PRIMARY REGULATOR VALVE)

35416

PLUNGER, PRIMARY REGULATOR VALVE, NO.1

35417A

SLEEVE, PRIMARY REGULATOR VALVE

35419

VALVE, CHECK, NO.1

35419A

SPRING, COMPRESSION (FOR CHECK VALVE)

35420D

BALL (FOR LOWER VALVE BODY)

35420D

BALL (FOR LOWER VALVE BODY)

35441C

STRAINER, SOLENOID OIL

35449B

VALVE, PRESSURE RELIEF

35449C

SPRING, COMPRESSION (FOR VALVE PRESSURE RELIEF)

35456

VALVE, 2-3 SHIFT

35456A

SPRING, COMPRESSION (FOR 2-3 SHIFT VALVE)

35456C

PLUG (FOR 2-3 SHIFT VALVE)

35456F

KEY, STRAIGHT (FOR 2-3 SHIFT VALVE)

35464

VALVE, 1-2 SHIFT

35464A

SPRING, COMPRESSION (FOR 1-2 SHIFT VALVE)

35464D

KEY, STRAIGHT (FOR 1-2 SHIFT VALVE)

35464E

PLUG (FOR 1-2 SHIFT VALVE)

35468C

VALVE, SECONDARY REGULATOR

35468D

SPRING, COMPRESSION (FOR SECONDARY REGULATOR VALVE)

35468E

KEY, STRAIGHT (FOR SECONDARY REGULATOR VALVE)

35468F

PLUG (FOR SECONDARY REGULATOR VALVE)

35472A

COVER, LOWER VALVE BODY

35477

GASKET, VALVE BODY COVER

35497

VALVE, 3-4 SHIFT

35497A

SPRING, COMPRESSION (FOR 3-4 SHIFT VALVE)

35497C

PLUG (FOR 3-4 SHIFT VALVE)

35497F

KEY, STRAIGHT (FOR 3-4 SHIFT VALVE)

8412

переход к группе запчастей

8412

переход к группе запчастей

Код

Описание

9010505001

Крепеж

9010505002

Крепеж

9010505003

Крепеж

9010505010

Крепеж

9010505011

Крепеж

9010506017

Крепеж

9010506025

Крепеж

9010506026

Крепеж

9010506028

Крепеж

9010506029

Крепеж

9010506030

Крепеж

Код

Описание

35156A

PLATE, TRANSMISSION CASE, NO.2

35156B

BOLT(FOR TRANSMISSION CASE NO.2 PLATE)

35156C

SCREW(FOR TRANSMISSION CASE NO.2 PLATE)

35158

GASKET, TRANSMISSION CASE, NO.2 PLATE

35330

STRAINER ASSY, VALVE BODY OIL

35339

GASKET, OIL STRAINER

35409

SPRING SUB-ASSY, MANUAL DETENT

35410

BODY ASSY, TRANSMISSION VALVE

35418

VALVE, MANUAL

35423

PISTON, B-2 ACCUMULATOR

35423A

SPRING, COMPRESSION (FOR B-2 ACCUMULATOR PISTON)

35423B

RING, O (FOR B-2 ACCUMULATOR PISTON)

35423B

RING, O (FOR B-2 ACCUMULATOR PISTON)

35424C

PISTON, C-1 ACCUMULATOR

35424D

SPRING, COMPRESSION (FOR C-1 ACCUMULATOR PISTON)

35424D

SPRING, COMPRESSION (FOR C-1 ACCUMULATOR PISTON)

35424E

RING, O (FOR C-1 ACCUMULATOR PISTON)

35425A

PISTON, C-2 ACCUMULATOR

35425B

SPRING, COMPRESSION (FOR C-2 ACCUMULATOR PISTON)

35425C

RING, O (FOR C-2 ACCUMULATOR PISTON)

35425C

RING, O (FOR C-2 ACCUMULATOR PISTON)

35426D

PISTON, C-3 ACCUMULATOR

35426E

SPRING, COMPRESSION (FOR C-3 ACCUMULATOR PISTON)

35426F

RING, O (FOR C-3 ACCUMULATOR PISTON)

35426F

RING, O (FOR C-3 ACCUMULATOR PISTON)

35427A

SPRING, COMPRESSION (FOR B-4 ACCUMULATOR PISTON)

35427B

RING, O (FOR B-4 ACCUMULATOR PISTON)

35427C

PISTON, B-4 ACCUMULATOR

35432

PLATE, VALVE BODY, NO.1

35433

GASKET, VALVE BODY, NO.1

35434

GASKET, VALVE BODY, NO.2

35474A

COVER, ACCUMULATOR

35478

GASKET, ACCUMULATOR COVER

35599

COVER, MANUAL DETENT SPRING

35862

BRACKET, ACCUMULATOR APPLY TUBE

Код

Описание

35212

VALVE, LOCK UP RELAY

35212B

SPRING, COMPRESSION (FOR LOCK UP RELAY VALVE)

35213

VALVE, LOCK UP RELAY CONTROL

35215

SLEEVE, LOCK UP RELAY VALVE

35215B

PIN, STRAIGHT (FOR LOCK UP RELAY VALVE SLEEVE)

35415F

VALVE, PRIMARY REGULATOR

35415H

SPRING, COMPRESSION (FOR PRIMARY REGULATOR VALVE)

35415J

WASHER (FOR PRIMARY REGULATOR VALVE)

35416

PLUNGER, PRIMARY REGULATOR VALVE, NO.1

35417A

SLEEVE, PRIMARY REGULATOR VALVE

35417B

PIN, STRAIGHT (FOR PRIMARY REGULATOR VALVE SLEEVE)

35418A

PIN, STRAIGHT (FOR MANUAL VALVE)

35418B

PLUG (FOR MANUAL VALVE)

35422F

STOPPER, VALVE VIBRATING

35442

STRAINER, THROTTLE MODULATOR OIL

35445Q

VALVE, LOW COAST MODULATOR

35445R

SPRING, COMPRESSION (FOR LOW COAST MODULATOR VALVE)

35445V

PLUG (FOR LOW COAST MODULATOR VALVE)

35450E

BALL (FOR UPPER VALVE BODY)

35451

SLEEVE, THROTTLE VALVE

35451A

PIN, STRAIGHT (FOR THROTTLE VALVE SLEEVE)

35457

VALVE, THROTTLE MODULATOR

35457E

PLUG (FOR THROTTLE MODULATOR VALVE)

35457F

SPRING, COMPRESSION (FOR THROTTLE MODULATOR VALVE)

35457G

PIN, STRAIGHT (FOR THROTTLE MODULATOR VALVE)

35458D

VALVE, CUT BACK

35458E

PLUG (FOR CUT BACK VALVE)

35458H

KEY, STRAIGHT (FOR CUT BACK VALVE)

35461

PLUG, DOWN SHIFT

35461A

SPRING, COMPRESSION (FOR DOWN SHIFT PLUG)

35462

VALVE, THROTTLE

35462A

SPRING, COMPRESSION (FOR THROTTLE VALVE)

35462D

RING, E (FOR THROTTLE VALVE)

35465A

SLEEVE, PRIMARY REGULATOR VALVE PLUNGER

35491A

VALVE, ACCUMULATOR CONTROL, NO.1

35491B

SPRING, COMPRESSION (FOR ACCUMULATOR CONTROL VALVE NO.1)

35491C

KEY, STRAIGHT (FOR ACCUMULATOR CONTROL VALVE NO.1)

35491D

PLUG (FOR ACCUMULATOR CONTROL VALVE NO.1)

35521

CAM, THROTTLE VALVE

35521A

SPRING (FOR THROTTLE VALVE CAM RETURN)

35521B

WASHER (FOR THROTTLE VALVE CAM SET)

35521C

BOLT (FOR THROTTLE VALVE CAM SET)

35522

PIN, THROTTLE VALVE CAM

Код

Описание

35211

VALVE, LOCK UP SIGNAL

35211B

SPRING, COMPRESSION (FOR LOCK UP SIGNAL VALVE)

35211C

KEY, STRAIGHT (FOR LOCK UP SIGNAL VALVE)

35219

PLUG, LOCK UP SIGNAL VALVE

35419

VALVE, CHECK, NO.1

35419A

SPRING, COMPRESSION (FOR CHECK VALVE)

35437B

PLATE, VALVE BODY COVER

35441C

STRAINER, SOLENOID OIL

35445H

VALVE, 2ND COAST MODULATOR

35445J

PLUG (FOR 2ND COAST MODULATOR VALVE)

35445P

SPRING, COMPRESSION (FOR 2ND COAST MODULATOR VALVE)

35445S

KEY, STRAIGHT (FOR 2ND COAST MODULATOR VALVE)

35449B

VALVE, PRESSURE RELIEF

35449C

SPRING, COMPRESSION (FOR VALVE PRESSURE RELIEF)

35456

VALVE, 2-3 SHIFT

35456A

SPRING, COMPRESSION (FOR 2-3 SHIFT VALVE)

35456C

PLUG (FOR 2-3 SHIFT VALVE)

35456F

KEY, STRAIGHT (FOR 2-3 SHIFT VALVE)

35464

VALVE, 1-2 SHIFT

35464A

SPRING, COMPRESSION (FOR 1-2 SHIFT VALVE)

35464D

KEY, STRAIGHT (FOR 1-2 SHIFT VALVE)

35464E

PLUG (FOR 1-2 SHIFT VALVE)

35468C

VALVE, SECONDARY REGULATOR

35468D

SPRING, COMPRESSION (FOR SECONDARY REGULATOR VALVE)

35468E

KEY, STRAIGHT (FOR SECONDARY REGULATOR VALVE)

35468F

PLUG (FOR SECONDARY REGULATOR VALVE)

35472A

COVER, LOWER VALVE BODY

35477

GASKET, VALVE BODY COVER

35477

GASKET, VALVE BODY COVER

35497

VALVE, 3-4 SHIFT

35497A

SPRING, COMPRESSION (FOR 3-4 SHIFT VALVE)

35497C

PLUG (FOR 3-4 SHIFT VALVE)

35497F

KEY, STRAIGHT (FOR 3-4 SHIFT VALVE)

8412

переход к группе запчастей

8412

переход к группе запчастей

Код

Описание

35171

COVER, TRANSAXLE HOUSING

35172

GASKET, TRANSAXLE HOUSING COVER

35195A

CLAMP, TRANSAXLE APPLY TUBE, NO.1

35196

CLAMP, TRANSAXLE APPLY TUBE, NO.2

35197

CLAMP, TRANSAXLE APPLY TUBE, NO.3

35198

CLAMP, TRANSAXLE APPLY TUBE, NO.4

35429

TUBE, LINE PRESSURE

35844A

TUBE, ACCUMULATOR BACK PRESSURE, NO.1

35845A

TUBE, DIRECT CLUTCH ACCUMULATOR

35846

TUBE, BRAKE ACCUMULATOR

35847

TUBE, TRANSMISSION LUBE APPLY

35848

TUBE, FORWARD CLUTCH ACCUMULATOR

35882A

TUBE, DIFFERENTIAL GEAR LUBE APPLY

35899

TUBE, GOVERNOR PRESSURE

9161160614

Крепеж

9161160620

Крепеж

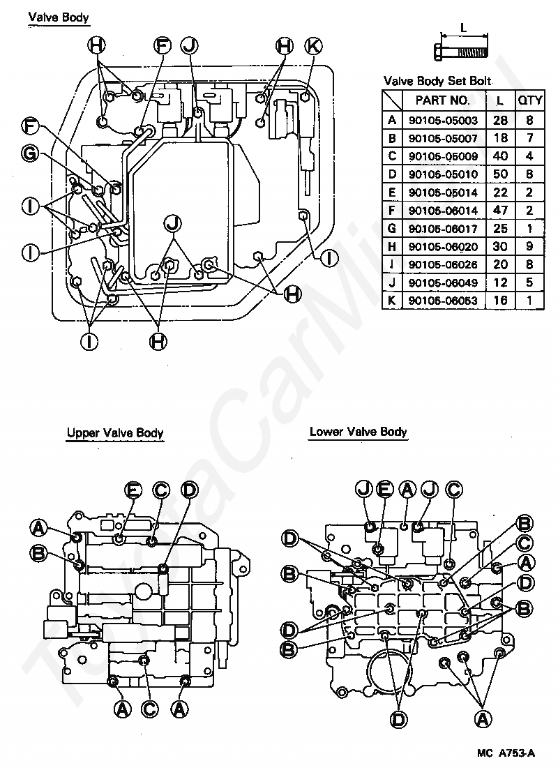
Код

Описание

9010505003

Крепеж

9010505007

Крепеж

9010505009

Крепеж

9010505010

Крепеж

9010505014

Крепеж

9010506014

Крепеж

9010506017

Крепеж

9010506020

Крепеж

9010506026

Крепеж

9010506049

Крепеж

9010506053

Крепеж

> Запчасти MR2 > Поиск по каталогу

Купить

Ваше имя
Ваш телефон
Ваша электронная почта
Оставляя свои данные в форме, вы подтверждаете свое согласие с Политикой конфиденциальности