Каталог

Япония

Модель

MEGA CRUISER

VIN

Дата

1999/06

Двигатель

4,1 литра, турбо-дизель, EFI

Фрейм

BXD20

КПП

автомат

Опции

TURBO DIESEL EFI

EXHAUST BRAKE ASSEMBLY & VACUUM CYLINDER TOYOTA MEGA CRUISER




Код

Описание

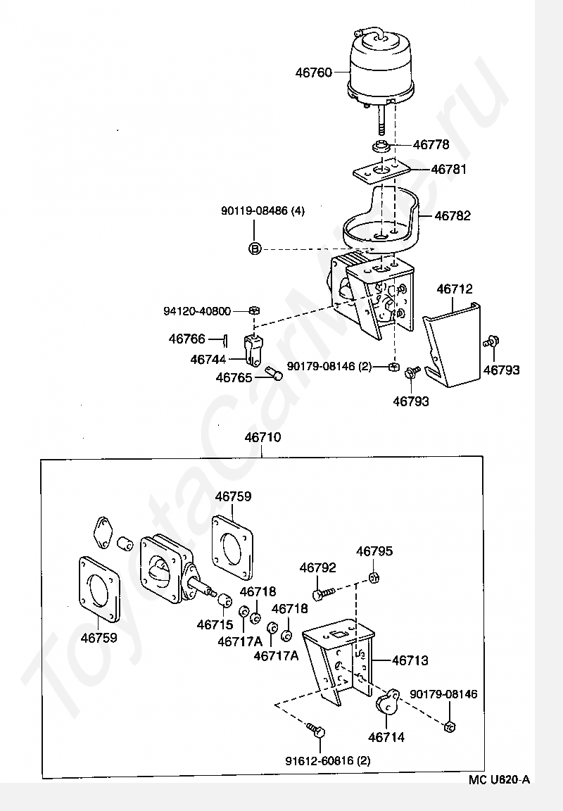
46710

VALVE ASSY, EXHAUST BRAKE

46712

COVER, EXHAUST VALVE LINK

46713

BRACKET, EXHAUST VALVE

46714

LEVER, EXHAUST VALVE

46715

BUSH, EXHAUST VALVE, NO.1

46717A

RING, EXHAUST VALVE SEAL, NO.1

46717A

RING, EXHAUST VALVE SEAL, NO.1

46718

RING, EXHAUST VALVE SEAL, NO.2

46718

RING, EXHAUST VALVE SEAL, NO.2

46744

CLEVIS, EXHAUST BRAKE ROD CLEVIS

46759

GASKET, EXHAUST RETARDER

46759

GASKET, EXHAUST RETARDER

46760

CYLINDER ASSY, EXHAUST RETARDER VACUUM

46765

PIN, VACUUM CYLINDER CLEVIS

46766

PIN, VACUUM CYLINDER CLEVIS SNAP

46778

BEARING, VACUUM CYLINDER

46781

INSULATOR, EXHAUST BRAKE CHAMBER, NO.1

46782

INSULATOR, EXHAUST BRAKE CHAMBER, NO.2

46792

BOLT, EXHAUST VALVE STOPPER

46793

BOLT, EXHAUST VALVE LINK COVER

46793

BOLT, EXHAUST VALVE LINK COVER

46795

NUT, EXHAUST VALVE BRACKET

9011908486

Крепеж

9017908146

Крепеж

9017908146

Крепеж

9161260816

Крепеж

9412040800

Крепеж

> Запчасти MEGA%20CRUISER > Поиск по каталогу

Купить

Ваше имя
Ваш телефон
Ваша электронная почта
Оставляя свои данные в форме, вы подтверждаете свое согласие с Политикой конфиденциальности