Каталог

Япония

Модель

MEGA CRUISER

VIN

Дата

1999/06

Двигатель

4,1 литра, турбо-дизель, EFI

Фрейм

BXD20

КПП

автомат

Опции

TURBO DIESEL EFI

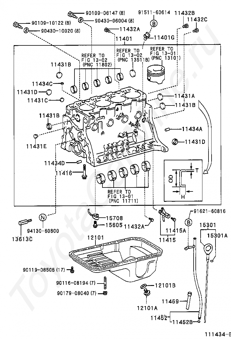
Блок цилиндров TOYOTA MEGA CRUISER




Код

Описание

11401

BLOCK SUB-ASSY, CYLINDER

11401G

SENSOR, CRANK POSITION

11415

COCK SUB-ASSY, WATER DRAIN(FOR CYLINDER BLOCK)

11415A

PLUG, WATER DRAIN COCK(FOR CYLINDER BLOCK)

11416

BOLT(FOR CRANKSHAFT BEARING CAP SET)

11431A

PLUG, TIGHT, NO.1(FOR CYLINDER BLOCK)

11431B

PLUG, TIGHT, NO.2(FOR CYLINDER BLOCK)

11431B

PLUG, TIGHT, NO.2(FOR CYLINDER BLOCK)

11431B

PLUG, TIGHT, NO.2(FOR CYLINDER BLOCK)

11431C

PLUG, TIGHT, NO.3(FOR CYLINDER BLOCK)

11431D

PLUG, TIGHT, NO.4(FOR CYLINDER BLOCK)

11431D

PLUG, TIGHT, NO.4(FOR CYLINDER BLOCK)

11431E

PLUG, TIGHT, NO.5(FOR CYLINDER BLOCK)

11432A

PLUG, W/HEAD TAPER SCREW, NO.1

11432A

PLUG, W/HEAD TAPER SCREW, NO.1

11432B

PLUG, W/HEAD TAPER SCREW, NO.2

11432C

PLUG, W/HEAD TAPER SCREW, NO.3

11434A

PIN, STRAIGHT(FOR TIMING GEAR COVER SET)

11434C

PIN, STRAIGHT (FOR CYLINDER HEAD SET)

11434D

PIN, STRAIGHT(FOR ENGINE REAR OIL SEAL)

11452

GUIDE, OIL LEVEL GAGE

11452B

RING, O(FOR OIL LEVEL GAGE GUIDE)

11459

SUPPORT, OIL LEVEL GAGE GUIDE

12101

PAN SUB-ASSY, OIL

12101A

PLUG(FOR OIL PAN DRAIN)

12101B

GASKET(FOR OIL PAN DRAIN PLUG)

1301

переход к группе запчастей

1301

переход к группе запчастей

1302

переход к группе запчастей

1302

переход к группе запчастей

13613C

NOZZLE, OIL

15301

GAGE SUB-ASSY, OIL LEVEL

15301A

RING, O(FOR OIL LEVEL GAGE)

15605

VALVE SUB-ASSY, OIL CHECK

15708

NOZZLE SUB-ASSY, OIL, NO.1

9010906147

Крепеж

9010910122

Крепеж

9011608194

Крепеж

9011908505

Крепеж

9017908040

Крепеж

9043006004

Крепеж

9043010020

Крепеж

9151160614

Крепеж

9162160816

Крепеж

9413060800

Крепеж

> Запчасти MEGA%20CRUISER > Поиск по каталогу

Купить

Ваше имя
Ваш телефон
Ваша электронная почта
Оставляя свои данные в форме, вы подтверждаете свое согласие с Политикой конфиденциальности