Каталог

Европа

Модель

HILUX

VIN

Дата

1981/08

Двигатель

2 литра

Кузов

LOW DECK (STANDARD DECK)

Класс

DELUX SPECIFICATION

Фрейм

RN36

КПП

МКПП, 4 ступени

Опции

левый руль MIDDLE EAST COUNTRIES SPECIFICATION ENLARGE CAB COMPLETED VEHICLE

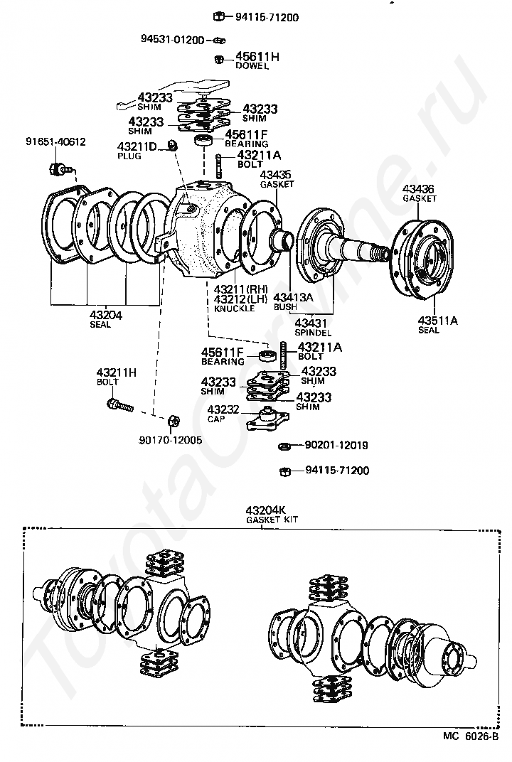
Рычаги передней подвески TOYOTA HILUX




Код

Описание

43204

SEAL SUB-ASSY, STEERING KNUCKLE OIL

43204K

GASKET KIT, FRONT AXLE OVERHAUL

43211

KNUCKLE, STEERING, RH

43211A

BOLT, STUD (FOR STEERING SET)

43211A

BOLT, STUD (FOR STEERING SET)

43211D

PLUG (FOR STEERING KNUCKLE)

43211H

BOLT, ROUND HEXAGON

43212

KNUCKLE, STEERING, LH

43232

CAP, STEERING KNUCKLE BEARING

43233

SHIM, STEERING KNUCKLE ADJUST, NO.1

43233

SHIM, STEERING KNUCKLE ADJUST, NO.1

43233

SHIM, STEERING KNUCKLE ADJUST, NO.1

43233

SHIM, STEERING KNUCKLE ADJUST, NO.1

43233

SHIM, STEERING KNUCKLE ADJUST, NO.1

43233

SHIM, STEERING KNUCKLE ADJUST, NO.1

43413A

BUSH, SOLID (FOR DRIVE SHAFT)

43431

SPINDLE, STEERING KNUCKLE

43435

GASKET, KNUCKLE SPINDLE

43436

GASKET, KNUCKLE SPINDLE OIL RETAINER

43511A

SEAL, DUST (FOR FRONT AXLE HUB)

45611F

BEARING(FOR STEERING KNUCKLE ARM)

45611F

BEARING(FOR STEERING KNUCKLE ARM)

45611H

DOWEL, SPLIT(FOR STEERING KNUCKLE ARM)

9017012005

Крепеж

9020112019

Крепеж

9165140612

Крепеж

9411571200

Крепеж

9411571200

Крепеж

9453101200

Крепеж

> Запчасти HILUX > Поиск по каталогу

Купить

Ваше имя
Ваш телефон
Ваша электронная почта
Оставляя свои данные в форме, вы подтверждаете свое согласие с Политикой конфиденциальности