Каталог

Ближний Восток

Модель

CRESSIDA

VIN

Дата

1987/05

Двигатель

2,4 литра

Кузов

седан

Класс

XL SPECIFICATION

Фрейм

RX72

КПП

автомат АКПП, 4 ступени

Опции

правый руль STANDARD CARBURETOR SPECIFICATION GENERAL COUNTRIES

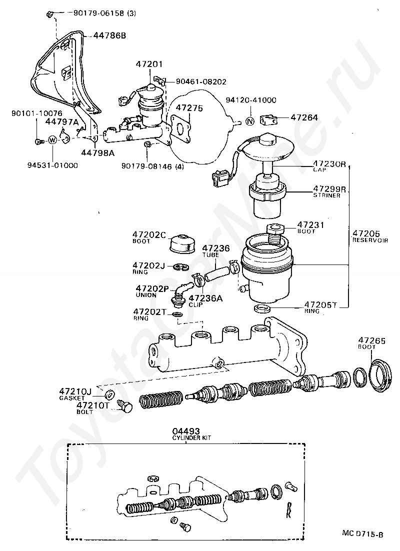
Главный тормозной цилиндр TOYOTA CRESSIDA




Код

Описание

04493

CYLINDER KIT, BRAKE MASTER

44786B

INSULATOR, BRAKE MASTER CYLINDER HEAT

44797A

BRACKET, HEAT INSULATOR, NO.2

44798A

BRACKET, HEAT INSULATOR(FOR BRAKE MASTER CYLINDER)

47201

CYLINDER SUB-ASSY, BRAKE MASTER

47202C

BOOT, RESERVOIR, NO.1(FOR BRAKE MASTER CYLINDER SIDE)

47202J

RING, SNAP(FOR BRAKE MASTER CYLINDER SIDE)

47202P

UNION, RESERVOIR(FOR BRAKE MASTER CYLINDER SIDE)

47202T

RING(FOR BRAKE MASTER CYLINDER RESERVOIR, NO.1)

47205

RESERVOIR SET, BRAKE MASTER CYLINDER(FOR REAR SIDE)

47205T

RING(FOR BRAKE MASTER CYLINDER RESERVOIR, NO.2)

47210J

GASKET(FOR MASTER CYLINDER)

47210T

BOLT(FOR BRAKE MASTER CYLINDER)

47230R

CAP ASSY, RESERVOIR, NO.2(FOR REAR SIDE)

47231

BOLT, BRAKE MASTER CYLINDER RESERVOIR SET

47236

TUBE, RESERVOIR BRAKE

47236A

CLIP(FOR RESERVOIR TUBE)

47264

CLEVIS, MASTER CYLINDER PUSH ROD

47265

BOOT, MASTER CYLINDER

47275

GASKET, BRAKE MASTER CYLINDER

47299R

STRAINER, MASTER CYLINDER RESERVOIR, REAR

9010110076

Крепеж

9017906158

Крепеж

9017908146

Крепеж

9046108202

Крепеж

9412041000

Крепеж

9453101000

Крепеж

> Запчасти CRESSIDA > Поиск по каталогу

Купить

Ваше имя
Ваш телефон
Ваша электронная почта
Оставляя свои данные в форме, вы подтверждаете свое согласие с Политикой конфиденциальности