Каталог

Ближний Восток

Модель

CRESSIDA

VIN

Дата

1980/09

Двигатель

2 литра

Кузов

седан

Класс

DELUX SPECIFICATION

Фрейм

RX60

КПП

механика МКПП, 3 ступени, на руле

Опции

левый руль GENERAL COUNTRIES

Распределитель TOYOTA CRESSIDA




Код

Описание

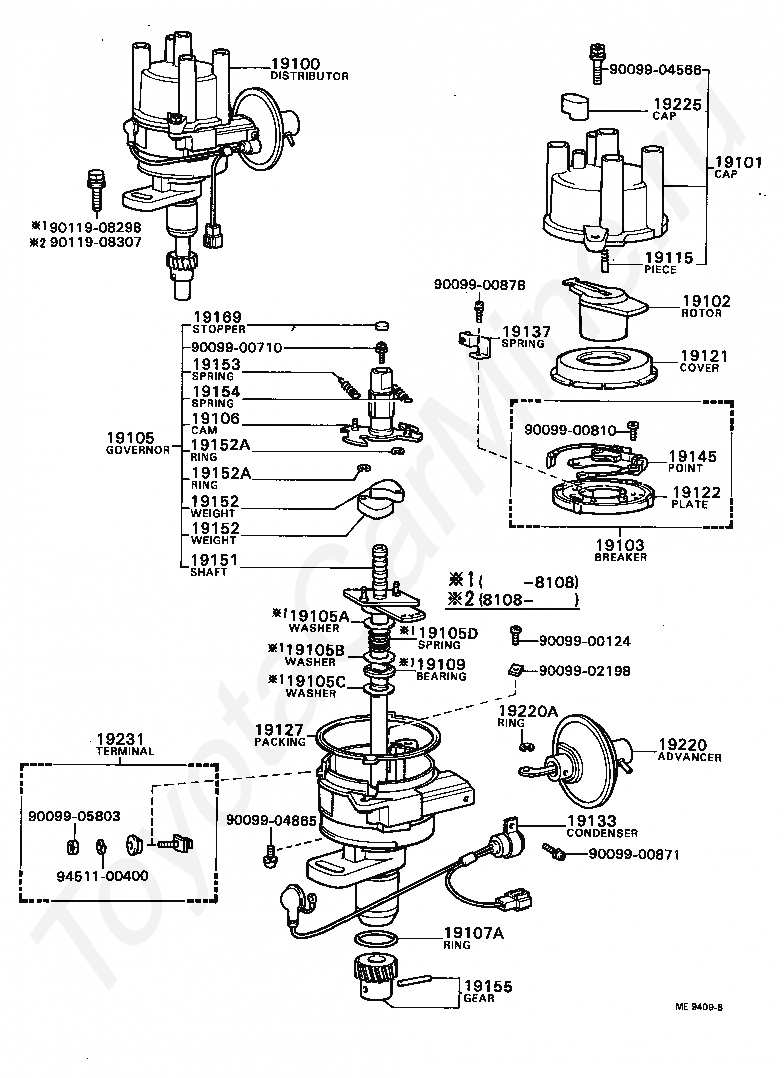
19100

DISTRIBUTOR ASSY

19101

CAP SUB-ASSY, DISTRIBUTOR

19102

ROTOR SUB-ASSY, DISTRIBUTOR

19103

BREAKER SUB-ASSY, DISTRIBUTOR

19105

GOVERNOR SUB-ASSY

19105A

WASHER(FOR GOVERNOR SHAFT THRUST)

19105B

WASHER, NO.2(FOR GOVERNOR SHAFT THRUST)

19105C

WASHER, NO.3(FOR GOVERNOR SHAFT THRUST)

19105D

SPRING, NO.1(FOR GOVERNOR SHAFT THRUST)

19106

CAM SUB-ASSY, DISTRIBUTOR

19107A

RING, O, DISTRIBUTOR HOUSING

19109

BEARING, THRUST

19115

PIECE, DISTRIBUTOR CAP, CENTER

19121

COVER, DUST PROOF

19122

PLATE, STATIONARY, DISTRIBUTOR

19127

PACKING, DUST PROOF

19133

CONDENSER, DISTRIBUTOR

19137

SPRING SUB-ASSY, DAMPER

19145

POINT, DISTRIBUTOR

19151

SHAFT, GOVERNOR

19152

WEIGHT, GOVERNOR

19152

WEIGHT, GOVERNOR

19152A

RING, SNAP(FOR GOVERNOR WEIGHT)

19152A

RING, SNAP(FOR GOVERNOR WEIGHT)

19153

SPRING, GOVERNOR, A

19155

GEAR, SPIRAL, DISTRIBUTOR

19169

STOPPER, CAM GREASE

19220

ADVANCER ASSY, VACUUM, DISTRIBUTOR

19220A

RING, SNAP(FOR DISTRIBUTOR VACUUM ADVANCER)

19225

CAP, RUBBER

19231

TERMINAL, DISTRIBUTOR

9009900124

Крепеж

9009900710

Крепеж

9009900810

Крепеж

9009900871

Крепеж

9009900878

Крепеж

9009902198

Крепеж

9009904566

Крепеж

9009904865

Крепеж

9009905803

Крепеж

9011908298

Крепеж

9011908307

Крепеж

9451100400

Крепеж

> Запчасти CRESSIDA > Поиск по каталогу

Купить

Ваше имя
Ваш телефон
Ваша электронная почта
Оставляя свои данные в форме, вы подтверждаете свое согласие с Политикой конфиденциальности