Каталог

Ближний Восток

Модель

CRESSIDA

VIN

Дата

1980/09

Двигатель

2 литра

Кузов

седан

Класс

DELUX SPECIFICATION

Фрейм

RX60

КПП

механика МКПП, 3 ступени, на руле

Опции

левый руль GENERAL COUNTRIES

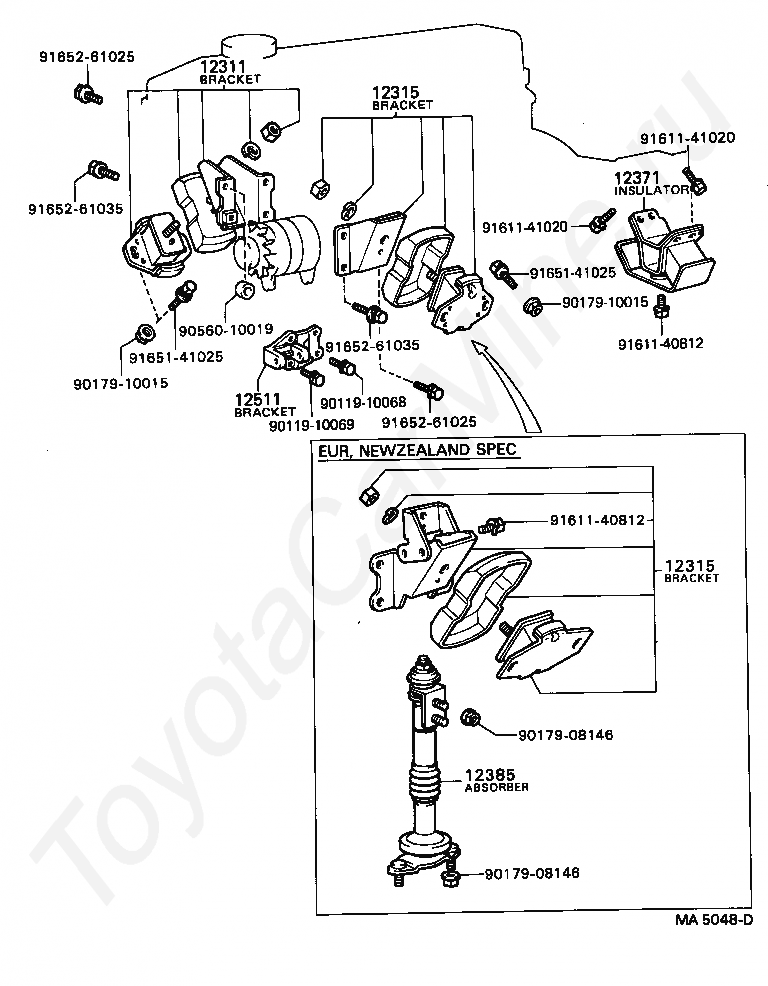
Крепление двигателя TOYOTA CRESSIDA




Код

Описание

12311

BRACKET, ENGINE MOUNTING, FRONT NO.1 RH

12315

BRACKET, ENGINE MOUNTING, FRONT NO.1 LH

12315

BRACKET, ENGINE MOUNTING, FRONT NO.1 LH

12371

INSULATOR, ENGINE MOUNTING, REAR NO.1

12385

ABSORBER, ENGINE MOUNTING, NO.1

12511

BRACKET, ALTERNATOR, NO.1

9011910068

Крепеж

9011910069

Крепеж

9017908146

Крепеж

9017908146

Крепеж

9017910015

Крепеж

9017910015

Крепеж

9056010019

Крепеж

9161140812

Крепеж

9161140812

Крепеж

9161141020

Крепеж

9161141020

Крепеж

9165141025

Крепеж

9165141025

Крепеж

9165261025

Крепеж

9165261025

Крепеж

9165261035

Крепеж

9165261035

Крепеж

> Запчасти CRESSIDA > Поиск по каталогу

Купить

Ваше имя
Ваш телефон
Ваша электронная почта
Оставляя свои данные в форме, вы подтверждаете свое согласие с Политикой конфиденциальности