Каталог

Ближний Восток

Модель

CORONA

VIN

Дата

1978/09

Двигатель

2 литра

Кузов

фургон

Класс

STANDARD TYPE

Фрейм

RT132

КПП

механика МКПП, 4 ступени

Опции

левый руль LEAF TYPE REAR SUSPENSION GENERAL COUNTRIES

Кондиционер: охлаждающие трубки TOYOTA CORONA







Код

Описание

88460

CONDENSER ASSY, COOLER

88460

CONDENSER ASSY, COOLER

8846720030

Крепеж

8846720030

Крепеж

8846922010

Крепеж

8846922010

Крепеж

88470

RECEIVER & DRYER ASSY, COOLER

88470

RECEIVER & DRYER ASSY, COOLER

88472

BRACKET, RECEIVER TANK, NO.1

88472

BRACKET, RECEIVER TANK, NO.1

88715A

PIPE, COOLER REFRIGERANT DISCHARGE, A

88715A

PIPE, COOLER REFRIGERANT DISCHARGE, A

88716A

PIPE, COOLER REFRIGERANT LIQUID, A

88716A

PIPE, COOLER REFRIGERANT LIQUID, A

88716B

PIPE, COOLER REFRIGERANT LIQUID, B

88716B

PIPE, COOLER REFRIGERANT LIQUID, B

8871814280

Крепеж

8871820310

Крепеж

8871820310

Крепеж

8871820320

Крепеж

9009932073

Крепеж

9009932073

Крепеж

9011906003

Крепеж

9011906003

Крепеж

9017906032

Крепеж

9017906032

Крепеж

9338518016

Крепеж

9338518016

Крепеж

9354055010

Крепеж

9354055010

Крепеж

9354055010

Крепеж

9452100600

Крепеж

9452100600

Крепеж

Код

Описание

1603

переход к группе запчастей

1603

переход к группе запчастей

1603

переход к группе запчастей

1603

переход к группе запчастей

5302

переход к группе запчастей

5302

переход к группе запчастей

5304

переход к группе запчастей

5304

переход к группе запчастей

88460

CONDENSER ASSY, COOLER

88460

CONDENSER ASSY, COOLER

8846714040

Крепеж

8846714040

Крепеж

8846714040

Крепеж

88470

RECEIVER & DRYER ASSY, COOLER

88470

RECEIVER & DRYER ASSY, COOLER

88472

BRACKET, RECEIVER TANK, NO.1

88472

BRACKET, RECEIVER TANK, NO.1

8868820220

Крепеж

8868820220

Крепеж

8868820230

Крепеж

8868820230

Крепеж

8868820240

Крепеж

8868820240

Крепеж

88715A

PIPE, COOLER REFRIGERANT DISCHARGE, A

88715A

PIPE, COOLER REFRIGERANT DISCHARGE, A

88716A

PIPE, COOLER REFRIGERANT LIQUID, A

88716A

PIPE, COOLER REFRIGERANT LIQUID, A

88716B

PIPE, COOLER REFRIGERANT LIQUID, B

88716B

PIPE, COOLER REFRIGERANT LIQUID, B

8871820390

Крепеж

8871820390

Крепеж

8871820400

Крепеж

8871820400

Крепеж

9017906032

Крепеж

9017906032

Крепеж

9017906032

Крепеж

9017906032

Крепеж

9017906032

Крепеж

9017906032

Крепеж

9338516016

Крепеж

9338516016

Крепеж

9338516016

Крепеж

9338516016

Крепеж

9354055010

Крепеж

9354055010

Крепеж

9354055010

Крепеж

9451100800

Крепеж

Код

Описание

8846720030

Крепеж

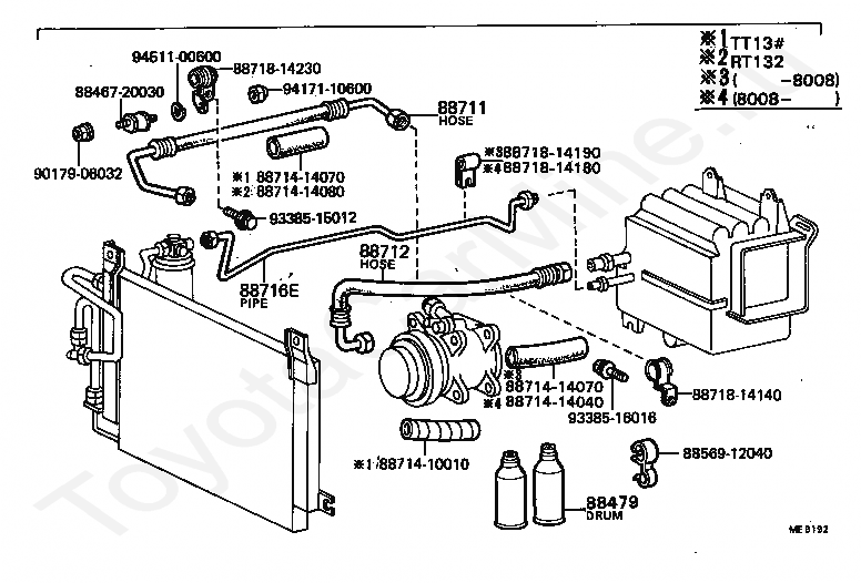
88479

FREON GAS, AIR CONDITIONER (DRUM, COOLER REFRIGERANT)

8856912040

Крепеж

88711

HOSE, COOLER REFRIGERANT DISCHARGE, NO.1

88712

HOSE, COOLER REFRIGERANT SUCTION, NO.1

8871410010

Крепеж

8871414040

Крепеж

8871414070

Крепеж

8871414070

Крепеж

8871414080

Крепеж

88716E

PIPE, COOLER REFRIGERANT LIQUID, E

8871814140

Крепеж

8871814180

Крепеж

8871814190

Крепеж

8871814230

Крепеж

9017906032

Крепеж

9338515012

Крепеж

9338516016

Крепеж

9417110600

Крепеж

9451100600

Крепеж

> Запчасти CORONA > Поиск по каталогу

Купить

Ваше имя
Ваш телефон
Ваша электронная почта
Оставляя свои данные в форме, вы подтверждаете свое согласие с Политикой конфиденциальности