Каталог

Япония

Модель

COROLLA CROSS

VIN

Дата

2021/08

Двигатель

1,8 литра, 16 клапанов, DOHC, EFI

Класс

S TYPE

Фрейм

ZVG15

КПП

вариатор

Опции

HIGH EFFICIENCY TWIN CAM 879W

Проводка TOYOTA COROLLA CROSS







Код

Описание

82111

WIRE, ENGINE ROOM MAIN

82119C

WIRE, ENGINE ROOM, NO.5

821H2

WIRE, HV AIR CONDITIONER

82824A

CONNECTOR, WIRING HARNESS

8401

переход к группе запчастей

8401

переход к группе запчастей

8401

переход к группе запчастей

8401

переход к группе запчастей

8401

переход к группе запчастей

8401

переход к группе запчастей

8401

переход к группе запчастей

8401

переход к группе запчастей

8401

переход к группе запчастей

8401

переход к группе запчастей

8401

переход к группе запчастей

8401

переход к группе запчастей

8401

переход к группе запчастей

9011906A06

Крепеж

9011906A06

Крепеж

9011906A06

Крепеж

9011906A06

Крепеж

9011906A06

Крепеж

9011906A18

Крепеж

9011906A18

Крепеж

9011908D22

Крепеж

9011908D22

Крепеж

9017806026

Крепеж

9017806026

Крепеж

9167180820

Крепеж

9167180820

Крепеж

9167380620

Крепеж

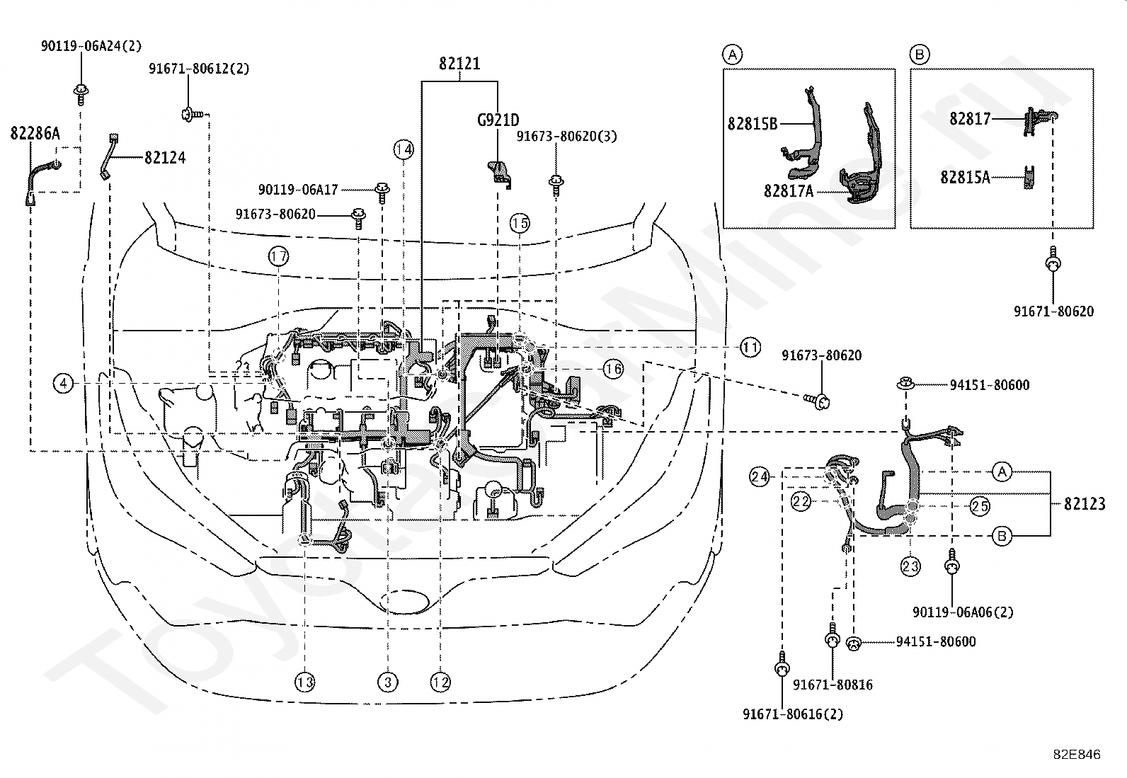
Код

Описание

82121

WIRE, ENGINE

82123

WIRE, ENGINE, NO.3

82124

WIRE, ENGINE, NO.4

82286A

WIRE, EARTH, NO.2

82815A

COVER, WIRING HARNESS PROTECTOR

82815B

COVER, WIRING HARNESS PROTECTOR

82817

PROTECTOR, WIRING HARNESS, NO.1

82817A

PROTECTOR, WIRING HARNESS, NO.2

9011906A06

Крепеж

9011906A17

Крепеж

9011906A24

Крепеж

9167180612

Крепеж

9167180616

Крепеж

9167180620

Крепеж

9167180816

Крепеж

9167380620

Крепеж

9167380620

Крепеж

9167380620

Крепеж

9415180600

Крепеж

9415180600

Крепеж

G921D

PROTECTOR, INVERTER CONNECTOR COVER

Код

Описание

82141

WIRE, INSTRUMENT PANEL

82142

WIRE, INSTRUMENT PANEL, NO.2

82142A

WIRE, INSTRUMENT PANEL, NO.2

82143C

WIRE, INSTRUMENT PANEL, NO.3

8401

переход к группе запчастей

9011906951

Крепеж

9015960613

Крепеж

9167380616

Крепеж

9167380616

Крепеж

9167380616

Крепеж

9167380616

Крепеж

9167380616

Крепеж

Код

Описание

82151

WIRE, FRONT DOOR, RH

82152

WIRE, FRONT DOOR, LH

82153

WIRE, REAR DOOR, NO.1

82154

WIRE, REAR DOOR, NO.2

82184

WIRE, BACK DOOR, NO.1

82186

WIRE, REAR WINDOW, NO.1

82187

WIRE, REAR WINDOW, NO.2

82817B

PROTECTOR, WIRING HARNESS, NO.3

9011906A06

Крепеж

9167380616

Крепеж

9167380616

Крепеж

Код

Описание

82161

WIRE, FLOOR

82169A

WIRE, FLOOR, NO.6

8216B

WIRE, FLOOR NO.8

8216C

WIRE, FLOOR, NO.9

82171

WIRE, ROOF, NO.1

8417

переход к группе запчастей

8504

переход к группе запчастей

8601

переход к группе запчастей

890C0

WIRE ASSY, PARKING BRAKE, NO.1

890C0

WIRE ASSY, PARKING BRAKE, NO.1

890C0A

WIRE ASSY, PARKING BRAKE, NO.2

890C0A

WIRE ASSY, PARKING BRAKE, NO.2

89349C

CLIP, ULTRASONIC SENSOR, REAR NO.2

9011906A06

Крепеж

9011906A06

Крепеж

9011906A06

Крепеж

9017806012

Крепеж

9017806012

Крепеж

91673A0616

Крепеж

91673A0616

Крепеж

91673A0616

Крепеж

91673A0616

Крепеж

9415180840

Крепеж

9415180840

Крепеж

Код

Описание

821H1

WIRE, FLOOR UNDER

821H3B

WIRE, BATTERY PACK, NO.2

8401

переход к группе запчастей

8401

переход к группе запчастей

8401

переход к группе запчастей

9017806026

Крепеж

9017906256

Крепеж

9167380620

Крепеж

Код

Описание

82191

WIRE, FRONT SEAT, RH

8219A

WIRE, FRONT SEAT, RH NO.2

Код

Описание

1263137010

Крепеж

5804

переход к группе запчастей

827111E350

Крепеж

8271510340

Крепеж

8271512A01

Крепеж

8271512A30

Крепеж

8271512S30

Крепеж

8271512W00

Крепеж

8271512W20

Крепеж

8271516A70

Крепеж

8271528L90

Крепеж

8271547350

Крепеж

8271547740

Крепеж

8271547750

Крепеж

8271547770

Крепеж

8271547790

Крепеж

8271547810

Крепеж

8271547820

Крепеж

8271547830

Крепеж

8271547850

Крепеж

8271547860

Крепеж

8271547A00

Крепеж

827155C050

Крепеж

827155C060

Крепеж

827156A460

Крепеж

8271576590

Крепеж

8271576600

Крепеж

8271576790

Крепеж

8272920150

Крепеж

9011906A17

Крепеж

9011906A17

Крепеж

9011906A17

Крепеж

9017806012

Крепеж

91621B0816

Крепеж

91621B0816

Крепеж

9167180612

Крепеж

9167180612

Крепеж

9167180612

Крепеж

9167180612

Крепеж

9167180612

Крепеж

9167180614

Крепеж

9167180616

Крепеж

9167180616

Крепеж

9167180816

Крепеж

9167180816

Крепеж

9167180816

Крепеж

9167180820

Крепеж

9167180820

Крепеж

9167380616

Крепеж

9167380616

Крепеж

9167380616

Крепеж

9167380620

Крепеж

> Запчасти COROLLA > Поиск по каталогу

Купить

Ваше имя
Ваш телефон
Ваша электронная почта
Оставляя свои данные в форме, вы подтверждаете свое согласие с Политикой конфиденциальности