Каталог

Европа

Модель

CELICA

VIN

Дата

1977/08

Двигатель

2 литра

Кузов

POUNDS

Класс

XT TYPE

Фрейм

RA40

КПП

автомат АКПП, 3 ступени

Опции

левый руль Европа Европа

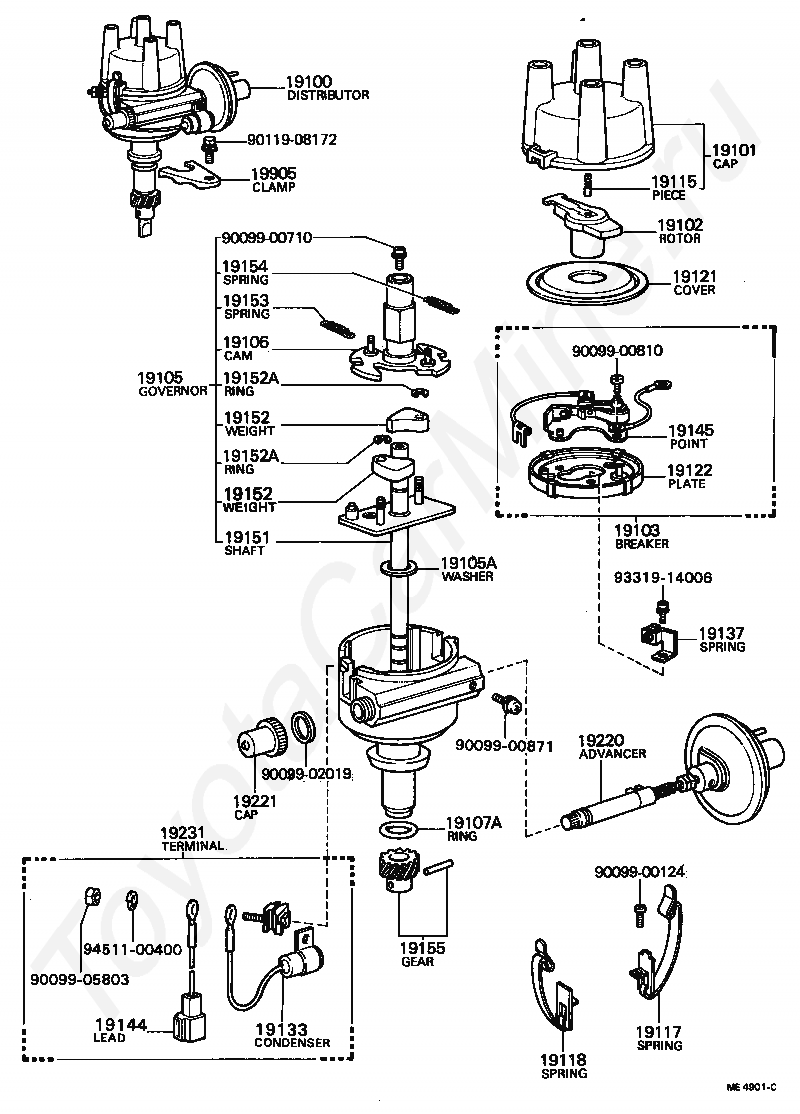
Распределитель TOYOTA CELICA







Код

Описание

19100

DISTRIBUTOR ASSY

19101

CAP SUB-ASSY, DISTRIBUTOR

19102

ROTOR SUB-ASSY, DISTRIBUTOR

19103

BREAKER SUB-ASSY, DISTRIBUTOR

19105

GOVERNOR SUB-ASSY

19105A

WASHER(FOR GOVERNOR SHAFT THRUST)

19106

CAM SUB-ASSY, DISTRIBUTOR

19107A

RING, O, DISTRIBUTOR HOUSING

19115

PIECE, DISTRIBUTOR CAP, CENTER

19117

SPRING, DISTRIBUTOR CAP, A

19118

SPRING, DISTRIBUTOR CAP, B

19121

COVER, DUST PROOF

19122

PLATE, STATIONARY, DISTRIBUTOR

19133

CONDENSER, DISTRIBUTOR

19137

SPRING SUB-ASSY, DAMPER

19144

LEAD, DISTRIBUTOR BREAKER

19145

POINT, DISTRIBUTOR

19151

SHAFT, GOVERNOR

19152

WEIGHT, GOVERNOR

19152

WEIGHT, GOVERNOR

19152A

RING, SNAP(FOR GOVERNOR WEIGHT)

19152A

RING, SNAP(FOR GOVERNOR WEIGHT)

19153

SPRING, GOVERNOR, A

19154

SPRING, GOVERNOR, B

19155

GEAR, SPIRAL, DISTRIBUTOR

19220

ADVANCER ASSY, VACUUM, DISTRIBUTOR

19221

CAP, ADJUSTER, DISTRIBUTOR

19231

TERMINAL, DISTRIBUTOR

19905

CLAMP SUB-ASSY, DISTRIBUTOR

9009900124

Крепеж

9009900710

Крепеж

9009900810

Крепеж

9009900871

Крепеж

9009902019

Крепеж

9009905803

Крепеж

9011908172

Крепеж

9331914006

Крепеж

9451100400

Крепеж

Код

Описание

19100

DISTRIBUTOR ASSY

19101

CAP SUB-ASSY, DISTRIBUTOR

19102

ROTOR SUB-ASSY, DISTRIBUTOR

19103

BREAKER SUB-ASSY, DISTRIBUTOR

19105

GOVERNOR SUB-ASSY

19105A

WASHER(FOR GOVERNOR SHAFT THRUST)

19106

CAM SUB-ASSY, DISTRIBUTOR

19107A

RING, O, DISTRIBUTOR HOUSING

19115

PIECE, DISTRIBUTOR CAP, CENTER

19121

COVER, DUST PROOF

19122

PLATE, STATIONARY, DISTRIBUTOR

19127

PACKING, DUST PROOF

19133

CONDENSER, DISTRIBUTOR

19137

SPRING SUB-ASSY, DAMPER

19145

POINT, DISTRIBUTOR

19151

SHAFT, GOVERNOR

19152

WEIGHT, GOVERNOR

19152

WEIGHT, GOVERNOR

19152A

RING, SNAP(FOR GOVERNOR WEIGHT)

19152A

RING, SNAP(FOR GOVERNOR WEIGHT)

19153

SPRING, GOVERNOR, A

19154

SPRING, GOVERNOR, B

19155

GEAR, SPIRAL, DISTRIBUTOR

19169

STOPPER, CAM GREASE

19220

ADVANCER ASSY, VACUUM, DISTRIBUTOR

19221

CAP, ADJUSTER, DISTRIBUTOR

19225

CAP, RUBBER

19231

TERMINAL, DISTRIBUTOR

19905

CLAMP SUB-ASSY, DISTRIBUTOR

9009900124

Крепеж

9009900124

Крепеж

9009900710

Крепеж

9009900810

Крепеж

9009900871

Крепеж

9009900878

Крепеж

9009902019

Крепеж

9009902198

Крепеж

9009902198

Крепеж

9009905803

Крепеж

9011908172

Крепеж

9451100400

Крепеж

> Запчасти CELICA > Поиск по каталогу

Купить

Ваше имя
Ваш телефон
Ваша электронная почта
Оставляя свои данные в форме, вы подтверждаете свое согласие с Политикой конфиденциальности