Каталог

Европа

Модель

CAMRY (JPP)

VIN

Дата

1991/06

Двигатель

2,2 литра, 16 клапанов, DOHC, EFI

Кузов

седан

Класс

LE TYPE

Фрейм

SXV10

КПП

автомат

Опции

JAPAN PRODUCT США

Реле и кнопки TOYOTA CAMRY (JPP)







Код

Описание

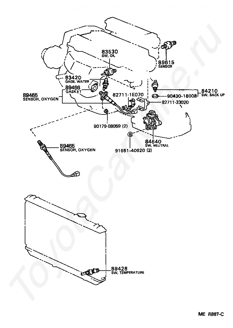
827111E070

Крепеж

8271133020

Крепеж

83420

GAGE ASSY, WATER TEMPERATURE SENDER

83530

SWITCH ASSY, OIL PRESSURE (FOR ENGINE)

84210

SWITCH ASSY, BACK-UP LAMP

84540

SWITCH ASSY, NEUTRAL START

89428

SWITCH, TEMPERATURE DETECT, NO.2

89465

SENSOR, OXYGEN

89465

SENSOR, OXYGEN

89466

GASKET, OXYGEN SENSOR

89615

SENSOR, KNOCK CONTROL

9017908059

Крепеж

9043018008

Крепеж

9165140620

Крепеж

Код

Описание

28371

RELAY, IGNITION, NO.1

82600F

FUSE, FUSE BLOCK

82600F

FUSE, FUSE BLOCK

82600F

FUSE, FUSE BLOCK

82600F

FUSE, FUSE BLOCK

82600M

FUSE, MEDIUM CURRENT

82600M

FUSE, MEDIUM CURRENT

82616A

PULLER, FUSE, NO.2

82642A

RELAY, RUNNING LIGHT

82642A

RELAY, RUNNING LIGHT

82661

COVER, RELAY BLOCK, NO.1

82661

COVER, RELAY BLOCK, NO.1

82661

COVER, RELAY BLOCK, NO.1

82661

COVER, RELAY BLOCK, NO.1

82670A

BLOCK ASSY, JUNCTION, NO.1

82672A

COVER, JUNCTION BLOCK

82672A

COVER, JUNCTION BLOCK

82673A

BRACKET, JUNCTION BLOCK

82685A

PLATE, CAUTION

82824L

PIN, SHORT

8401

переход к группе запчастей

85916

RELAY, LIGHT CONTROL

85926

RELAY, HEADLAMP DIMMER

85927

RELAY, COOLING FAN

85927A

RELAY, COOLING FAN, NO.2

85927B

RELAY, COOLING FAN, NO.3

85999A

BRACKET, RELAY, NO.2

86530

RELAY ASSY, HORN

88630G

RELAY ASSY, COOLER

88630H

RELAY ASSY, COOLER

88630R

RELAY ASSY, COOLER, NO.3

89620

IGNITER ASSY

89620

IGNITER ASSY

89629

BRACKET, IGNITER ASSY

89629

BRACKET, IGNITER ASSY

9011906005

Крепеж

9011906005

Крепеж

9011906508

Крепеж

9011906531

Крепеж

9011906538

Крепеж

9011906674

Крепеж

9011906771

Крепеж

Код

Описание

8410

переход к группе запчастей

84118

KNOB, LIGHT CONTROL RHEOSTAT

84119

RHEOSTAT, LIGHT CONTROL

84242

SWITCH, GLOVE BOX LAMP

84330

SWITCH ASSY, HAZARD WARNING SIGNAL

84330B

BULB, HAZARD WARNING SIGNAL SWITCH

84660C

SWITCH, COOLER

84660D

BULB(FOR COOLER SWITCH)

84730

SWITCH ASSY, HEATER BLOWER

84730

SWITCH ASSY, HEATER BLOWER

84730B

BULB, HEATER BLOWER SWITCH

84730B

BULB, HEATER BLOWER SWITCH

84730B

BULB, HEATER BLOWER SWITCH

84730D

CAP, HEATER BLOWER SWITCH BULB

84790

SWITCH ASSY, REAR WINDOW DEFOGGER

84790B

BULB(FOR REAR WINDOW DEFOGGER SWITCH)

84790B

BULB(FOR REAR WINDOW DEFOGGER SWITCH)

84790E

CAP, BULB(FOR REAR WINDOW DEFOGGER SWITCH)

84810

SWITCH ASSY, POWER WINDOW REGULATOR

84820

MASTER SWITCH ASSY, POWER WINDOW REGULATOR

84870A

SWITCH ASSY, OUTER MIRROR

84930

SWITCH ASSY, DOOR CONTROL

84930

SWITCH ASSY, DOOR CONTROL

85500

LIGHTER ASSY, CIGARETTE

85513

COVER, CIGARETTE LIGHTER

85515

STAY, CIGARETTE LIGHTER BEZEL

85520

KNOB AND ELEMENT ASSY, CIGARETTE LIGHTER

87290

SWITCH ASSY, HEATER

9008016026

Крепеж

9016440103

Крепеж

9017009004

Крепеж

9356755016

Крепеж

Код

Описание

82600F

FUSE, FUSE BLOCK

82600F

FUSE, FUSE BLOCK

82600G

PLATE, CAUTION(FOR FUSE)

82600M

FUSE, MEDIUM CURRENT

82600M

FUSE, MEDIUM CURRENT

82616

PULLER, FUSE

82641

RELAY, INTEGRATION NO.1

82642A

RELAY, RUNNING LIGHT

82670A

BLOCK ASSY, JUNCTION, NO.1

82672A

COVER, JUNCTION BLOCK

8271114080

Крепеж

84340

SWITCH ASSY, STOP LAMP

84520

SWITCH ASSY, CLUTCH START

84550

SWITCH ASSY, PARKING BRAKE

84727

SWITCH, SHIFT LOCK CONTROL

85431

SOLENOID, SHIFT LOCK

85912

RELAY, DEFOGGER

85916

RELAY, LIGHT CONTROL

85933

COMPUTER, SHIFT LOCK CONTROL

85939

RELAY, POWER WINDOW

85980

RELAY ASSY, DOOR CONTROL

85999C

BRACKET, RELAY, NO.3

85999H

BRACKET, RELAY

8601

переход к группе запчастей

8601

переход к группе запчастей

9016750002

Крепеж

9017906032

Крепеж

9165140612

Крепеж

9165140612

Крепеж

9165140620

Крепеж

9412041000

Крепеж

Код

Описание

28300

RELAY ASSY, STARTER

81980

FLASHER ASSY, TURN SIGNAL

82600F

FUSE, FUSE BLOCK

82600M

FUSE, MEDIUM CURRENT

82672A

COVER, JUNCTION BLOCK

8404

переход к группе запчастей

85910C

RELAY ASSY (FOR HEATER BLOWER MOTOR)

89257

COMPUTER, COOLING FAN

9017906070

Крепеж

Код

Описание

8271133010

Крепеж

84110

SWITCH ASSY, LIGHT CONTROL, NO.1

84140

SWITCH ASSY, HEADLAMP DIMMER

84306

CABLE SUB-ASSY, SPIRAL

84310

SWITCH ASSY, TURN SIGNAL

84329

SWITCH, TURN SIGNAL

84450

SWITCH ASSY, IGNITION OR STARTER

84650

SWITCH ASSY, WINDSHIELD WIPER

85432

SOLENOID, KEY INTER LOCK

9046400551

Крепеж

9331913008

Крепеж

9331914012

Крепеж

9331914012

Крепеж

9331915012

Крепеж

9331915012

Крепеж

Код

Описание

84233

SWITCH ASSY, COURTESY LAMP (FOR FRONT DOOR)

84233

SWITCH ASSY, COURTESY LAMP (FOR FRONT DOOR)

84550

SWITCH ASSY, PARKING BRAKE

84656A

BEZEL, SWITCH

84742

SWITCH, SLIDE ROOF LIMIT

84921

KNOB, POWER SEAT SWITCH

84921

KNOB, POWER SEAT SWITCH

84922

SWITCH, FRONT POWER SEAT

84931B

SWITCH, DOOR CONTROL

84931B

SWITCH, DOOR CONTROL

85921

RELAY, SLIDING ROOF CONTROL

9011906563

Крепеж

9011906563

Крепеж

9011906601

Крепеж

9011906601

Крепеж

9331514012

Крепеж

9338516018

Крепеж

9356755014

Крепеж

Код

Описание

83320

GAGE ASSY, FUEL SENDER

84234

SWITCH ASSY, COURTESY LAMP (FOR REAR DOOR)

84234

SWITCH ASSY, COURTESY LAMP (FOR REAR DOOR)

84236

SWITCH ASSY, COURTESY LAMP(FOR LUGGAGE COMPARTMENT ROOM)

84810

SWITCH ASSY, POWER WINDOW REGULATOR

84810

SWITCH ASSY, POWER WINDOW REGULATOR

89373

SENSOR, LAMP FAILURE INDICATOR

9008233001

Крепеж

9011906563

Крепеж

9011906563

Крепеж

9011906601

Крепеж

9011906601

Крепеж

9326915008

Крепеж

9331914008

Крепеж

> Запчасти CAMRY > Поиск по каталогу

Купить

Ваше имя
Ваш телефон
Ваша электронная почта
Оставляя свои данные в форме, вы подтверждаете свое согласие с Политикой конфиденциальности