Каталог

Европа

Модель

CAMRY

VIN

Дата

1986/10

Двигатель

2 литра, 16 клапанов, DOHC, EFI

Кузов

седан

Класс

GLI TYPE

Фрейм

SV21

КПП

механика МКПП, 5 скоростей

Опции

левый руль Европа

Тормозная магистраль TOYOTA CAMRY







Код

Описание

47150

VALVE ASSY, PROPORTIONING

47311

TUBE, FRONT BRAKE, NO.1

47311A

WAY(FOR FRONT BRAKE TUBE)

47312

TUBE, FRONT BRAKE, NO.2

47313

TUBE, FRONT BRAKE, NO.3

47313A

HOSE, FLEXIBLE, NO.1(FOR FRONT)

47313A

HOSE, FLEXIBLE, NO.1(FOR FRONT)

47313B

BOLT, UNION(FOR FRONT FLEXIBLE HOSE)

47313P

GASKET(FOR FRONT FLEXIBLE HOSE)

47313P

GASKET(FOR FRONT FLEXIBLE HOSE)

47314

TUBE, FRONT BRAKE, NO.4

47315

TUBE, FRONT BRAKE, NO.5

47318F

HOSE, FLEXIBLE(FOR REAR RH)

47319F

HOSE, FLEXIBLE(FOR REAR LH)

47321

TUBE, REAR BRAKE, NO.1

47321

TUBE, REAR BRAKE, NO.1

47321A

WAY(FOR REAR BRAKE TUBE)

47322

TUBE, REAR BRAKE, NO.2

47322

TUBE, REAR BRAKE, NO.2

47323

TUBE, REAR BRAKE, NO.3

47324

TUBE, REAR BRAKE, NO.4

47325

TUBE, REAR BRAKE, NO.5

47326

TUBE, REAR BRAKE, NO.6

47371A

CLAMP, BRAKE TUBE, NO.1

47372

CLAMP, BRAKE TUBE, NO.2

47900

VALVE ASSY, LOAD SENSING W/SPRING

9017906158

Крепеж

9017906158

Крепеж

9017908146

Крепеж

9017910033

Крепеж

9046106055

Крепеж

9046106055

Крепеж

9046106139

Крепеж

9094901454

Крепеж

9094901455

Крепеж

9161160614

Крепеж

9161160614

Крепеж

9161160614

Крепеж

9161160614

Крепеж

9161160614

Крепеж

9165261020

Крепеж

9699110080

Крепеж

9699110080

Крепеж

9699110080

Крепеж

9699110080

Крепеж

9699110080

Крепеж

9699110080

Крепеж

9699110080

Крепеж

9699110080

Крепеж

Код

Описание

47311

TUBE, FRONT BRAKE, NO.1

47311A

WAY(FOR FRONT BRAKE TUBE)

47312A

UNION, NO.2(FOR FRONT BRAKE TUBE)

47313A

HOSE, FLEXIBLE, NO.1(FOR FRONT)

47313A

HOSE, FLEXIBLE, NO.1(FOR FRONT)

47313B

BOLT, UNION(FOR FRONT FLEXIBLE HOSE)

47313H

WAY, NO.3(FOR FRONT BRAKE TUBE)

47313P

GASKET(FOR FRONT FLEXIBLE HOSE)

47313P

GASKET(FOR FRONT FLEXIBLE HOSE)

47315

TUBE, FRONT BRAKE, NO.5

47316

TUBE, FRONT BRAKE, NO.6

47317

TUBE, FRONT BRAKE, NO.7

47318

TUBE, FRONT BRAKE, NO.8

47318D

BOLT, UNION(FOR REAR FLEXIBLE HOSE)

47318E

GASKET(FOR REAR FLEXIBLE HOSE)

47318E

GASKET(FOR REAR FLEXIBLE HOSE)

47318F

HOSE, FLEXIBLE(FOR REAR RH)

47319

TUBE, FRONT BRAKE, NO.9

47319F

HOSE, FLEXIBLE(FOR REAR LH)

47321

TUBE, REAR BRAKE, NO.1

47322

TUBE, REAR BRAKE, NO.2

47323

TUBE, REAR BRAKE, NO.3

47324

TUBE, REAR BRAKE, NO.4

47371A

CLAMP, BRAKE TUBE, NO.1

47372

CLAMP, BRAKE TUBE, NO.2

47373B

CLAMP, BRAKE TUBE, NO.3

47374B

CLAMP, BRAKE TUBE, NO.4

47375

CLAMP, BRAKE TUBE, NO.5

9017906158

Крепеж

9017908146

Крепеж

9046106055

Крепеж

9046106139

Крепеж

9048001413

Крепеж

9094901454

Крепеж

9094901455

Крепеж

9161160614

Крепеж

9161160614

Крепеж

9161160614

Крепеж

9161160614

Крепеж

9161160614

Крепеж

9161160614

Крепеж

9161160614

Крепеж

9699110080

Крепеж

9699110080

Крепеж

9699110080

Крепеж

9699110080

Крепеж

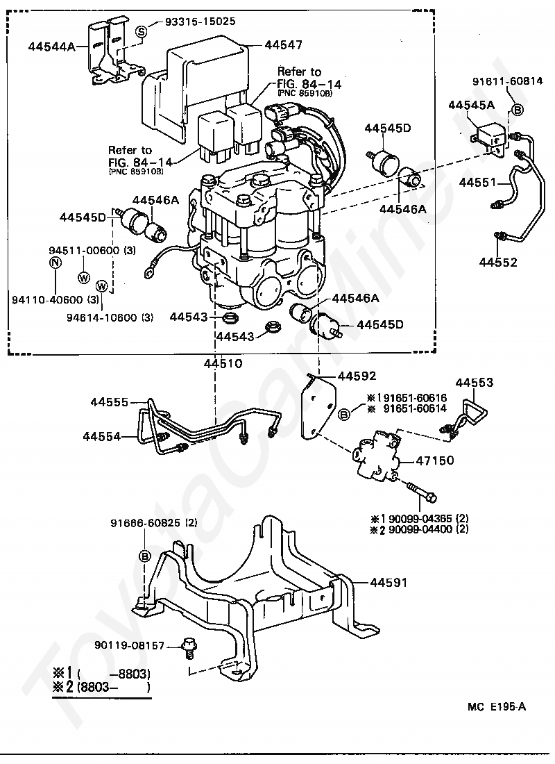
Код

Описание

44510

ACTUATOR ASSY, BRAKE

44543

CAP, RUBBER

44543

CAP, RUBBER

44544A

CLAMP, BRAKE ACTUATOR WIRE

44545A

UNION(FOR BRAKE ACTUATOR)

44545D

HOLDER, BRAKE ACTUATOR BOLT

44545D

HOLDER, BRAKE ACTUATOR BOLT

44545D

HOLDER, BRAKE ACTUATOR BOLT

44546A

CUSHION, BRAKE ACTUATOR BOLT

44546A

CUSHION, BRAKE ACTUATOR BOLT

44546A

CUSHION, BRAKE ACTUATOR BOLT

44547

CASE, RELAY(FOR BRAKE ACTUATOR)

44551

TUBE, BRAKE ACTUATOR, NO.1

44552

TUBE, BRAKE ACTUATOR, NO.2

44553

TUBE, BRAKE ACTUATOR, NO.3

44554

TUBE, BRAKE ACTUATOR, NO.4

44555

TUBE, BRAKE ACTUATOR, NO.5

44591

BRACKET, BRAKE ACTUATOR, NO.1

44592

BRACKET, BRAKE ACTUATOR, NO.2

47150

VALVE ASSY, PROPORTIONING

8414

переход к группе запчастей

8414

переход к группе запчастей

9009904365

Крепеж

9009904400

Крепеж

9011908157

Крепеж

9161160814

Крепеж

9165160614

Крепеж

9165160616

Крепеж

9166660825

Крепеж

9331515025

Крепеж

9411040600

Крепеж

9451100600

Крепеж

9461410600

Крепеж

> Запчасти CAMRY > Поиск по каталогу

Купить

Ваше имя
Ваш телефон
Ваша электронная почта
Оставляя свои данные в форме, вы подтверждаете свое согласие с Политикой конфиденциальности